网站首页
产品分类
配线槽
配线标志
扎线带
结束带
固定座
固定头
浪管
保护部品
接线头
保护套
套管
固定夹
PC板部品
扣具
塑料螺丝
通讯接头
超值包装
压着端子与工具
配线槽
配线标志
扎线带
结束带
固定座
固定头
浪管
保护部品
接线头
保护套
套管
固定夹
PC板部品
扣具
塑料螺丝
通讯接头
超值包装
压着端子与工具
专业选型
品牌简介
品牌理念
公司简介
公司沿革
全球布局
技术资料
通用技术资料
配线槽系列
配线标志系列
扎线带系列
固定头系列
浪管系列
端子系列
新产品
台湾精品奖
新系列
新尺寸
新闻
产品快讯
新闻中心
联系我们
联系我们
MWC-15
首页
产品分类
固定座
粘贴式
MWC
粘式固定夹 SELF-ADHESIVE WIRE CLIP
MWC-15
产品特点
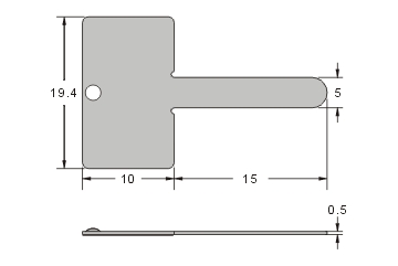
材质:金属为镀锌钢片,底座背胶。
用法:使用时将离型纸撕去,固定于基板之上,金属可弯曲,容易固定电线。
特点:装配简单、快速、牢固,开启容易,可多次重复使用。
产品认证
产品询价
添加到询盘
天猫/京东旗舰店链接
产品详情
产品型录
在线留言
相关产品
产品详情
规格线条图
产品资讯
适用扎线带宽度 W1
5.0
材质
镀锌钢片
认证
RoHS
包装
100pcs
产品型录
产品型录
在线留言
产品名称:MWC-15
名称:*
电话:*
邮件:*
国家:*
内容:*
提交
相关产品
MWC-25
kss@qdjbt.cn
邮箱
微信
产品
留言
顶部