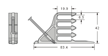
材质:PP(本色)。 特点: 1.钢钉直接附着于塑料座上,可大量节省工时,降低施工成本。 2.分隔型设计,可使电源线及讯号线分开配线,便于日后查线维修。 3.钢钉尺寸:2.9X52。
kss@qdjbt.cn