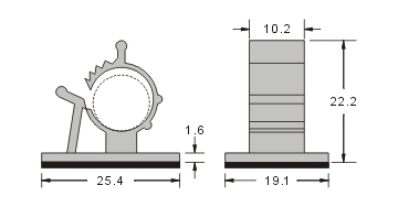
材质:UL合格之NYLON 66(黑色),防火等级94V-2,底座背胶。 用法:使用时将离型纸撕去,固定于基板之上,再将电线扣上即可。 特点: 1.一种规格的AP型可调式固定座,即可适合多种规格的电线使用,大量降低库存压力。 2.装配简单、快速、牢固,开启容易,可多次重复使用。
kss@qdjbt.cn